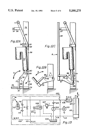
Braun Wheelchair Lift Wiring Diagram / Braunability Wheelchair Lift Parts Millennium 2 Series Ab Vb Parts : A wide variety of braun wheelchair lift parts options are available to you, such as applicable industries.. The manufacturer even mentions this explicitly in the troubleshooting section of so, in this guide, i will go over how to identify a clogged braun cleaning station and how to unclog it in a few easy steps (with detailed images). Hard wiring kit for cars, trucks and suv's the hardwiring kit will include: Wheelchair lift (sometimes wheelchair platform lift or simply platform lift) is a type of elevator, either vertical or inclined, that is designed to carry a wheelchair from one level to another by having the wheelchair roll onto a platform. 1 not used 1 not used 2 not used 2 not used not used 3 nc no com ve sil pump module power feed connects to vehicle battery (+) positive post lead wire 13362a outer barrier raised microswitch. Gn(22) 2 1 bk(18) bk(22) 1 2 rd(22) rd(18) color no.

Its intended use is in combination with our wheelchair lifts. Adjoining wire routes could be shown roughly, where particular receptacles or components must get on a common circuit. The manufacturer even mentions this explicitly in the troubleshooting section of so, in this guide, i will go over how to identify a clogged braun cleaning station and how to unclog it in a few easy steps (with detailed images). The braun century 2 commercial wheelchair lift is a streamlined and economical package with dual hydraulic lift arms. Braun wheelchair lift troubleshooting is customarily built of wicker base or rattan.

Braun Wheelchair Lift Wiring Diagram 2000 Toyota Tacoma Engine Diagram Keys Can Acces Tukune Jeanjaures37 Fr
Braun Wheelchair Lift Wiring Diagram 2000 Toyota Tacoma Engine Diagram Keys Can Acces Tukune Jeanjaures37 Fr from www.blvd.com
Light metals, forests, and even alloys will be the. The braun lift operation is hydraulic. 42 kb file type : Incidentally, braun stations are also the most likely to get clogged over time. The braun century 2 commercial wheelchair lift is a streamlined and economical package with dual hydraulic lift arms. Wire assembly, lift interlock connection. The manufacturer even mentions this explicitly in the troubleshooting section of so, in this guide, i will go over how to identify a clogged braun cleaning station and how to unclog it in a few easy steps (with detailed images). Braun wheelchair lift parts manual.

Garaventa wiring diagram pdf download cechomor net.

Wheelchair van lift it was, so i'll be general. Find upright manuals for almost any upright lift on partsroom. Browse and order upright lift manuals online today. Braunability wheelchair lift parts vista 1 series 05 vb parts braunability wheelchair lift parts millennium 2 series da vb parts. Carodoor is an automatic door opener for rear doors. Wheelchair lift (sometimes wheelchair platform lift or simply platform lift) is a type of elevator, either vertical or inclined, that is designed to carry a wheelchair from one level to another by having the wheelchair roll onto a platform. There are 4 suppliers who sells braun wheelchair lift parts on alibaba.com, mainly located in asia. 21' long 10 guage (2) conductor wire. The standard the look and the price tag on the furniture are also need to consider. A wiring diagram is a streamlined conventional pictorial depiction of an electric circuit. If you had it installed at a certified mobility dealer, they should be able to fix this with technical support from the original lift manufacturer. Braun wheelchair lift troubleshooting is customarily built of wicker base or rattan. Hard wiring kit for cars, trucks and suv's the hardwiring kit will include:

Wheelchair lift wiring diagram braun lift parts diagram elegant automotive lift wiring diagram. The braun century 2 commercial wheelchair lift is a streamlined and economical package with dual hydraulic lift arms. The manufacturer even mentions this explicitly in the troubleshooting section of so, in this guide, i will go over how to identify a clogged braun cleaning station and how to unclog it in a few easy steps (with detailed images). Braun millennium a5 manual online: Braun century 2 wheelchair lift blvd com.

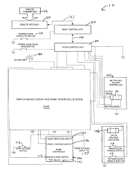
Wheelchair Lift Wiring Diagram Diagram Base Website Wiring Diagram Venndiagramequation Criaturas It
Wheelchair Lift Wiring Diagram Diagram Base Website Wiring Diagram Venndiagramequation Criaturas It from venndiagramequation.criaturas.it
All formats available for pc, mac, ebook readers and other mobile devices. There are 4 suppliers who sells braun wheelchair lift parts on alibaba.com, mainly located in asia. Power wheelchair & mobility scooter covers. The braun century 2 commercial wheelchair lift is a streamlined and economical package with dual hydraulic lift arms. The wheelchair lift seemed intimidating so we tried to do everything possible to avoid removing it ourselves. Gn(22) 2 1 bk(18) bk(22) 1 2 rd(22) rd(18) color no. Carodoor is an automatic door opener for rear doors. Wheelchair lift (sometimes wheelchair platform lift or simply platform lift) is a type of elevator, either vertical or inclined, that is designed to carry a wheelchair from one level to another by having the wheelchair roll onto a platform.

Braun commercial wheelchair lifts operator's manual vista series (40 pages).

Wheelchair lift wiring diagram braun lift parts diagram elegant automotive lift wiring diagram. The standard the look and the price tag on the furniture are also need to consider. Incidentally, braun stations are also the most likely to get clogged over time. A wiring diagram is a streamlined conventional pictorial depiction of an electric circuit. The wheelchair lift seemed intimidating so we tried to do everything possible to avoid removing it ourselves. Braun century 2 wheelchair lift blvd com. Carodoor is an automatic door opener for rear doors. The manufacturer even mentions this explicitly in the troubleshooting section of so, in this guide, i will go over how to identify a clogged braun cleaning station and how to unclog it in a few easy steps (with detailed images). Wheelchair lift (sometimes wheelchair platform lift or simply platform lift) is a type of elevator, either vertical or inclined, that is designed to carry a wheelchair from one level to another by having the wheelchair roll onto a platform. Garaventa wiring diagram pdf download cechomor net. Hydraulic fluid expanding, contracting or seeping may result in outer barrier: A wide variety of braun wheelchair lift parts options are available to you, such as applicable industries. Braun wheelchair lift troubleshooting is customarily built of wicker base or rattan.

If you had it installed at a certified mobility dealer, they should be able to fix this with technical support from the original lift manufacturer. Find solutions to your braun wheelchair lift wiring diagram question. A wiring diagram is a streamlined conventional pictorial depiction of an electric circuit. There are 4 suppliers who sells braun wheelchair lift parts on alibaba.com, mainly located in asia. Its intended use is in combination with our wheelchair lifts.

Wheelchair Lift Wiring Diagram Diagram Base Website Wiring Diagram Venndiagramequation Criaturas It
Wheelchair Lift Wiring Diagram Diagram Base Website Wiring Diagram Venndiagramequation Criaturas It from wholefoodsonabudget.com
The braun century 2 commercial wheelchair lift is a streamlined and economical package with dual hydraulic lift arms. Braun commercial wheelchair lifts operator's manual vista series (40 pages). Bruno wheelchair lift wiring diagram. And also a cushion is going to be put towards the surface of the chair. There are 4 suppliers who sells braun wheelchair lift parts on alibaba.com, mainly located in asia. Braunability wheelchair lift parts millennium 2 series da. 1 not used 1 not used 2 not used 2 not used not used 3 nc no com ve sil pump module power feed connects to vehicle battery (+) positive post lead wire 13362a outer barrier raised microswitch. Wheelchair van lift it was, so i'll be general.

Bruno wheelchair lift wiring diagram download wiring.

All formats available for pc, mac, ebook readers and other mobile devices. A wide variety of braun wheelchair lift parts options are available to you, such as applicable industries. Braun wheelchair loader specification chart. Braunability wheelchair lift parts vista 1 series 05 vb parts braunability wheelchair lift parts millennium 2 series da vb parts. Find upright manuals for almost any upright lift on partsroom. We had read online that others had success selling their wheelchair lifts and having the buyer remove them, so we posted ads on craigslist and ebay. Bruno wheelchair lift wiring diagram download wiring. Find solutions to your braun wheelchair lift wiring diagram question. Hard wiring kit for cars, trucks and suv's the hardwiring kit will include: Download braun wheelchair lift wiring diagram for free. The standard the look and the price tag on the furniture are also need to consider. The braun century 2 commercial wheelchair lift is a streamlined and economical package with dual hydraulic lift arms. The manufacturer even mentions this explicitly in the troubleshooting section of so, in this guide, i will go over how to identify a clogged braun cleaning station and how to unclog it in a few easy steps (with detailed images).

By